8.4.1 筏形基础分为梁板式和平板式两种类型,其选型应根据地基土质、上部结构体系、柱距、荷载大小、使用要求以及施工条件等因素确定。框架-核心筒结构和筒中筒结构宜采用平板式筏形基础。
8.4.2 筏形基础的平面尺寸,应根据工程地质条件、上部结构的布置、地下结构底层平面以及荷载分布等因素按本规范第5章有关规定确定。对单幢建筑物,在地基土比较均匀的条件下,基底平面形心宜与结构竖向永久荷载重心重合。当不能重合时,在作用的准永久组合下,偏心距e宜符合下式规定:
e≤0.1W/A (8.4. 2)
式中:W——与偏心距方向一致的基础底面边缘抵抗矩(m3);
A——基础底面积(m2)。
8.4.3 对四周与土层紧密接触带地下室外墙的整体式筏基和箱基,当地基持力层为非密实的土和岩石。场地类别为Ⅲ类和Ⅳ类,抗震设防烈度为8度和9度,结构基本自振周期处于特征周期的1.2倍~5倍范围时,按刚性地基假定计算的基底水平地震剪力、倾覆力矩可按设防烈度分别乘以0.90和0.85的折减系数。
8.4.4 筏形基础的混凝土强度等级不应低于C30,当有地下室时应采用防水混凝土。防水混凝土的抗渗等级应按表8.4.4选用。对重要建筑,宜采用自防水并设置架空排水层。
表8.4.4 防水混凝土抗渗等级
| 埋置深度d(m) | 设计抗渗等级 | 埋置深度d(m) | 设计抗渗等级 |
| d<10 | P6 | 20≤d<30 | P10 |
| 10≤d<20 | P8 | 30≤d | P12 |
8.4.5 采用筏形基础的地下室,钢筋混凝土外墙厚度不应小于250mm,内墙厚度不宜小于200mm。墙的截面设计除满足承载力要求外,尚应考虑变形、抗裂及外墙防渗等要求。墙体内应设置双面钢筋,钢筋不宜采用光面圆钢筋,水平钢筋的直径不应小于12mm,竖向钢筋的直径不应小于10mm,间距不应大于200mm。
8.4.6 平板式筏基的板厚应满足受冲切承载力的要求。
8.4.7 平板式筏基柱下冲切验算应符合下列规定:
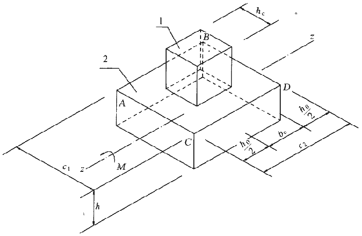
1 平板式筏基柱下冲切验算时应考虑作用在冲切临界截面重心上的不平衡弯矩产生的附加剪力。对基础边柱和角柱冲切验算时,其冲切力应分别乘以1.1和1.2的增大系数。距柱边h0/2处冲切临界截面的最大剪应力τmax应按式(8.4. 7-1)、式(8.4. 7-2)进行计算(图8.4.7)。板的最小厚度不应小于500mm。


τmax=(Fl/umh0)+αs(MunbcAB/Is) (8.4. 7-1)
τmax≤0.7(0.4+1.2/βs)βhpƒt (8.4.7-2)
图8.4.7内柱冲切临界截面示意
1—筏板;2—柱
(8.4.7-3)
式中:Fl——相应于作用的基本组合时的冲切力(kN),对内柱取轴力设计值减去筏板冲切破坏锥体内的基底净反力设计值;对边柱和角柱,取轴力设计值减去筏板冲切临界截面范围内的基底净反力设计值;
um——距柱边缘不小于h0/2处冲切临界截面的最小周长(m),按本规范附录P计算;
h0——筏板的有效高度(m);
Munb——作用在冲切临界截面重心上的不平衡弯矩设计值(kN·m);
cAB——沿弯矩作用方向,冲切临界截面重心至冲切临界截面最大剪应力点的距离(m),按附录P计算;
Is——冲切临界截面对其重心的极惯性矩(m4),按本规范附录P计算;
βs——柱截面长边与短边的比值,当βs<2时,βs取2,当βs>4时,βs取4
βhp——受冲切承载力截面高度影响系数,当h≤800mm时,取βhp=1.0;当h≥2000mm时,取βhp =0.9,其间按线性内插法取值;
ƒt——混凝土轴心抗拉强度设计值(kPa);
c1——与弯矩作用方向一致的冲切临界截面的边长(m),按本规范附录P计算;
c2——垂直于c1的冲切临界截面的边长(m),按本规范附录P计算;
αs——不平衡弯矩通过冲切临界截面上的偏心剪力来传递的分配系数。
2 当柱荷载较大,等厚度筏板的受冲切承载力不能满足要求时,可在筏板上面增设柱墩或在筏板下局部增加板厚或采用抗冲切钢筋等措施满足受冲切承载能力要求。
8.4. 8 平板式筏基内筒下的板厚应满足受冲切承载力的要求,并应符合下列规定:
1 受冲切承载力应按下式进行计算:
Fl/umh0 ≤0.7βhpƒt/η(8.4.8)
式中:Fl——相应于作用的基本组合时,内筒所承受的轴力设计值减去内筒下筏板冲切破坏锥体内的基底净反力设计值(kN);
um——距内筒外表面h0/2处冲切临界截面的周长(m)(图8.4.8);
hO——距内筒外表面h0/2处筏板的截面有效高度(m);
η——内筒冲切临界截面周长影响系数,取1.25。
2 当需要考虑内筒根部弯矩的影响时,距内筒外表面h0/2处冲切临界截面的最大剪应力可按公式(8.4.7-1)计算,此时τmax≤0.7βhpƒt/η。

图8. 4.8 筏板受内筒冲切的临界截面位置
8.4.9 平板式筏基应验算距内筒和柱边缘h0处截面的受剪承载力,当筏板变厚度时,尚应验算变厚度处筏板的受剪承载力。
8.4.10 平板式筏基受剪承载力应按式(8.4.10)验算,当筏板的厚度大于2000mm时,宜在板厚中间部位设置直径不小于12mm、间距不大于300mm的双向钢筋网。
Vs≤0.7βhsƒtbwh0 (8.4.10)
式中:Vs——相应于作用的基本组合时,基底净反力平均值产生的距内筒或柱边缘h0处筏板单位宽度的剪力设计值(kN);
bw——筏板计算截面单位宽度(m);
h0——距内筒或柱边缘h0处筏板的截面有效高度(m)。
8.4.11 梁板式筏基底板应计算正截面受弯承载力,其厚度尚应满足受冲切承载力、受剪切承载力的要求。
8.4.12 梁板式筏基底板受冲切、受剪切承载力计算应符合下列规定:
1 梁板式筏基底板受冲切承载力应按下式进行计算:
Fl≤0.7βhpƒtumh0 (8.4.12-1)
式中:Fl——作用的基本组合时,图8.4.12-1中阴影部分面积上的基底平均净反力设计值(kN);
um——距基础梁边h0/2处冲切临界截面的周长(m)(图8.4.12-1)。

图8.4.12-1 底板的冲切计算示意
1—冲切破坏锥体的斜截面;2—梁;3—底板
2 当底板区格为矩形双向板时,底板受冲切所需的厚度h0应按式(8.4.12-2)进行计算,其底板厚度与最大双向板格的短边净跨之比不应小于1/14,且板厚不应小于400mm。


(8.4.12-2)
图8.4.12-2 底板剪切计算示意
式中:lnl、ln2——计算板格的短边和长边的净长度(m);
pn——扣除底板及其上填土自重后,相应于作用的基本组合时的基底平均净反力设计值(kPa)。
3 梁板式筏基双向底板斜截面受剪承载力应按下式进行计算:
Vs≤0.7βhsƒt(ln2-2h0)h0 (8. 4.12-3)
式中:Vs——距梁边缘h0处,作用在图8.4.12-2中阴影部分面积上的基底平均净反力产生的剪力设计值(kN)
4 当底板板格为单向板时,其斜截面受剪承载力应按本规范第8.2.10条验算,其底板厚度不应小于400mm。
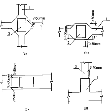
8.4.13 地下室底层柱、剪力墙与梁板式筏基的基础梁连接的构造应符合下列规定:
1 柱、墙的边缘至基础梁边缘的距离不应小于50mm(图8.4.13);
2 当交叉基础梁的宽度小于柱截面的边长时,交叉基础梁连接处应设置八字角,柱角与八字角之间的净距不宜小于50mm(图8.4.13a);
3 单向基础梁与柱的连接,可按图8.4.13b、c采用;
4 基础梁与剪力墙的连接,可按图8.4. 13d采用。

图8. 4. 13 地下室底层柱或剪力墙与梁板式筏基的基础梁连接的构造要求
1—基础梁;2—柱;3—墙
8.4. 14 当地基土比较均匀、地层压缩层范围内无软弱土层或可液化土层、 上部结构刚度较好,柱网和荷载较均匀、相邻柱荷载及柱间距的变化不超过20%,且梁板式筏基梁的高跨比或平板式筏基板的厚跨比不小于1/6时,筏形基础可仅考虑局部弯曲作用。筏形基础的内力,可按基底反力直线分布进行计算,计算时基底反力应扣除底板自重及其上填土的自重。当不满足上述要求时,筏基内力可按弹性地基梁板方法进行分析计算。
8. 4.15 按基底反力直线分布计算的粱板式筏基,其基础梁的内力可按连续梁分析,边跨跨中弯矩以及第一内支座的弯矩值宜乘以1.2的系数。梁板式筏基的底板和基础梁的配筋除满足计算要求外,纵横方向的底部钢筋尚应有不少于1/3贯通全跨,顶部钢筋按计算配筋全部连通,底板上下贯通钢筋的配筋率不应小于0.15%
8. 4.16 按基底反力直线分布计算的平板式筏基,可按柱下板带和跨中板带分别进行内力分析。柱下板带中,柱宽及其两侧各0.5倍板厚且不大于1/4板跨的有效宽度范围内,其钢筋配置量不应小于柱下板带钢筋数量的一半,且应能承受部分不平衡弯矩αmMunb。Munb为作用在冲切临界截面重心上的不平衡弯矩,αm应按式(8.4.16)进行计算。平板式筏基柱下板带和跨中板带的底部支座钢筋应有不少于1/3贯通全跨,顶部钢筋应按计算配筋全部连通,上下贯通钢筋的配筋率不应小于0.15%
αm=1-αs (8. 4. 16)
式中:αm——不平衡弯矩通过弯曲来传递的分配系数;
αs——按公式(8.4.7-3)计算。
8.4.17 对有抗震设防要求的结构,当地下一层结构顶板作为上部结构嵌固端时,嵌固端处的底层框架柱下端截面组合弯距设计值应按现行国家标准《建筑抗震设计规范》GB 50011的规定乘以与其抗震等级相对应的增大系数。当平板式筏形基础板作为上部结构的嵌固端、计算柱下板带截面组合弯矩设计值时,底层框架拄下端内力应考虑地震作用组合及相应的增大系数。
8.4.18 梁板式筏基基础梁和平板式筏基的顶面应满足底层柱下局部受压承载力的要求。对抗震设防烈度为9度的高层建筑,验算柱下基础梁、筏板局部受压承载力时,应计入竖向地震作用对柱轴力的影响。
8.4.19 筏板与地下室外墙的接缝、地下室外墙沿高度处的水平接缝应严格按施工缝要求施工,必要时可设通长止水带。
8.4.20 带裙房的高层建筑筏形基础应符合下列规定:
1 当高层建筑与相连的裙房之间设置沉降缝时,高层建筑的基础埋深应大于裙房基础的埋深至少2m。地面以下沉降缝的缝隙应用粗砂填实(图8. 4.20a)。

(图8. 4.20a) 高层建筑与裙房间的沉降缝、后浇带处理示意
1—高层建筑;2—裙房及地下室;3—室外地坪以下用粗砂填实;4一后浇带
2 当高层建筑与相连的裙房之间不设置沉降缝时,宜在裙房一侧设置用于控制沉降差的后浇带,当沉降实测值和计算确定的后期沉降差满足设计要求后,方可进行后浇带混凝土浇筑。当高层建筑基础面积满足地基承载力和变形要求时,后浇带宜设在与高层建筑相邻裙房的第一跨内。当需要满足高层建筑地基承载力、降低高层建筑沉降量、减小高层建筑与裙房间的沉降差而增大高层建筑基础面积时,后浇带可设在距主楼边柱的第二跨内,此时应满足以下条件:
1)地基土质较均匀;
2)裙房结构刚度较好且基础以上的地下室和裙房结构层数不少于两层;
3)后浇带一侧与主楼连接的裙房基础底板厚度与高层建筑的基础底板厚度相同(图8.4. 20b)。
3 当高层建筑与相连的裙房之间不设沉降缝和后浇带时,高层建筑及与其紧邻一跨裙房的筏板应采用相同厚度,裙房筏板的厚度宜从第二跨裙房开始逐渐变化,应同时满足主、裙楼基础整体性和基础板的变形要求;应进行地基变形和基础内力的验算,验算时应分析地基与结构间变形的相互影响,并采取有效措施防止产生有不利影响的差异沉降。
8.4.21 在同一大面积整体筏形基础上建有多幢高层和低层建筑时,筏板厚度和配筋宜按上部结构、基础与地基土共同作用的基础变形和基底反力计算确定。
8.4.22 带裙房的高层建筑下的整体筏形基础,其主楼下筏板的整体挠度值不宜大于0.05%,主楼与相邻的裙房柱的差异沉降不应大于其跨度的0.1%。
8.4.23 采用大面积整体筏形基础时,与主楼连接的外扩地下室其角隅处的楼板板角,除配置两个垂直方向的上部钢筋外,尚应布置斜向上部构造钢筋,钢筋直径不应小于10mm、间距不应大于200mm。该钢筋伸入板内的长度不宜小于1/4的短边跨度;与基础整体弯曲方向一致的垂直于外墙的楼板上部钢筋以及主裙楼交界处的楼板上部钢筋,钢筋直径不应小于10mm、间距不应大于200mm,且钢筋的面积不应小于现行国家标准《混凝土结构设计规范》GB 50010中受弯构件的最小配筋率,钢筋的锚固长度不应小于30d。
8.4.24 筏形基础地下室施工完毕后,应及时进行基坑回填工作。填土应按设计要求选料,回填时应先清除基坑中的杂物,在相对的两侧或四周同时回填并分层夯实,回填土的压实系数不应小于0.94。
8.4.25 采用筏形基础带地下室的高层和低层建筑、地下室四周外墙与土层紧密接触且土层为非松散填土、松散粉细砂土、软塑流塑黏性土,上部结构为框架、框剪或框架-核心筒结构,当地下一层结构顶板作为上部结构嵌固部位时,应符合下列规定:
1 地下一层的结构侧向刚度大于或等于与其相连的上部结构底层楼层侧向刚度的1.5倍。
2 地下一层结构顶板应采用梁板式楼盖,板厚不应小于180mm,其混凝土强度等级不宜小于C30;楼面应采用双层双向配筋,且每层每个方向的配筋率不宜小于0.25%。
3 地下室外墙和内墙边缘的板面不应有大洞口,以保证将上部结构的地震作用或水平力传递到地下室抗侧力构件中。
4 当地下室内、外墙与主体结构墙体之间的距离符合表8.4.25的要求时,该范围内的地下室内、外墙可计入地下一层的结构侧向刚度,但此范围内的侧向刚度不能重叠使用于相邻建筑。当不符合上述要求时,建筑物的嵌固部位可设在筏形基础的顶面,此时宜考虑基侧土和基底土对地下室的抗力。
表8.4.25 地下室墙与主体结构墙之间的最大间距d
| 抗震设防烈度7度、8度 | 抗震设防烈度9度 |
| d≤30m | d≤20m |
8.4.26 地下室的抗震等级、构件的截面设计以及抗震构造措施应符合现行国家标准《建筑抗震设计规范》GB 50011的有关规定。剪力墙底部加强部位的高度应从地下室顶板算起;当结构嵌固在基础顶面时,剪力墙底部加强部位的范围尚应延伸至基础顶面。