T.0.1 单桩竖向抗拔载荷试验应采用慢速维持荷载法进行。
T.0.2 试桩应符合实际工作条件并满足下列规定:
1 试桩桩身钢筋伸出桩顶长度不宜少于40d十500mm(d为钢筋直径)。为设计提供依据的试验,试桩钢筋按钢筋强度标准值计算的拉力应大于预估极限承载力的1.25倍。
2 试桩顶部露出地面高度不宜小于300mm。
3 试桩的成桩工艺和质量控制应严格遵守有关规定。试验前应对试验桩进行低应变检测,有明显扩径的桩不应作为抗拔试验桩。
4 试桩的位移量测仪表的架设位置与桩顶的距离不应小于1倍桩径,当桩径大于800mm时,试桩的位移量测仪表的架设位置与桩顶的距离可适当减少,但不得少于0.5倍桩径。
5 当采用工程桩作试桩时,桩的配筋应满足在最大试验荷载作用下桩的裂缝宽度控制条件,可采用分段配筋。
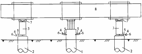
T.0.3 试验设备装置主要由加载装置与量测装置组成,如图T.0.3所示。

图T.0.3 单桩竖向抗拔载荷试验示意
1—试桩;2—锚桩;3—液压千斤顶;4—表座;
5—测微表;6—基准梁;7—球铰;8—反力梁
1 量测仪表应采用位移传感器或大量程百分表。加载装置应采用同型号并联同步油压千斤顶,千斤顶的反力装置可为反力锚桩。反力锚桩可根据现场情况利用工程桩。试桩、锚桩和基准桩之间的最小间距应符合本规范第Q.0.3条的规定,对扩底抗拔桩,上述最小间距应适当加大。
2 采用天然地基提供反力时,施加于地基的压应力不应大于地基承载力特征值的1.5倍。
T.0.4 加载量不宜少于预估的或设计要求的单桩抗拔极限承载力。每级加载为设计或预估单桩极限抗拔承载力的1/8~1/10,每级荷载达到稳定标准后加下一级荷载,直到满足加载终止条件,然后分级卸载到零。
T.0.5 抗拔静载试验除对试桩的上拔变形量进行观测外,还应对锚桩的变形量、桩周地面土的变形情况及桩身外露部分裂缝开展情况进行观测记录。
T.0.6 每级加载后,在第5min、10min、15min各测读一次上拔变形量,以后每隔15min测读一次,累计1h以后每隔30min测读一次。
T.0.7 在每级荷载作用下,桩的上拔变形量连续两次在每小时内小于0.1mm时可视为稳定。
T.0.8 每级卸载值为加载值的两倍。卸载后间隔15min测读一次,读两次后,隔30min再读一次,即可卸下一级荷载。全部卸载后,隔3h再测读一次。
T. 0.9 在试验过程中,当出现下列情况之一时,可终止加载:
1 桩顶荷载达到桩受拉钢筋强度标准值的0.9倍,或某根钢筋拉断;
2 某级荷载作用下,上拔变形量陡增且总上拔变形量已超过80mm;
3 累计上拔变形量超过100mm;
4 工程桩验收检测时,施加的上拔力应达到设计要求,当桩有抗裂要求时,不应超过桩身抗裂要求所对应的荷载。
T.0.10 单桩竖向抗拔极限承载力的确定应符合下列规定:
1 对于陡变形曲线(图T.0.10-1),取相应于陡升段起点的荷载值。
2 对于缓变形U-△曲线,可根据△-lgt曲线,取尾部显著弯曲的前一级荷载值(图T.0.10-2)。

图T.0.10-1 陡变形U-△曲线 图T.0.10-2 △-lgt曲线
3 当出现第T.0.9条第1款情况时,取其前一级荷载。
4 参加统计的试桩,当满足其极差不超过平均值的30%时,可取其平均值为单桩竖向抗拔极限承载力;极差超过平均值的30%时,宜增加试桩数量并分析极差过大的原因,结合工程具体情况确定极限承载力。对桩数为3根及3根以下的柱下桩台,取最小值。
T.0.11 单桩竖向抗拔承载力特征值应按以下方法确定:
1 将单桩竖向抗拔极限承载力除以2,此时桩身配筋应满足裂缝宽度设计要求;
2 当桩身不允许开裂时,应取桩身开裂的前一级荷载;
3 按设计允许的上拔变形量所对应的荷载取值。
T.0.12 从成桩到开始试验的时间间隔,应符合本规范第Q.0.4条的要求。